空氣浴塵室
  1. 空氣浴塵室
標準型 空氣浴塵室

產品簡介

空氣浴塵室 (AIR SHOWER) 為作業者或物品進入 CLEAN ROOM 時用以吹除人體衣服上及設備、物料、工具的塵埃,同時其具有 AIR LOCK 氣鎖功能可以有效...

產品介紹
 

Specification 規格表


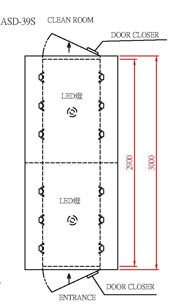
Filter Three-view 三視圖



以上規格為標準工作站規格,如有需其他規格尺寸,歡迎來電或是來信洽詢。 
本司亦有 單吹 / 雙吹 / 三向吹  亦或 直向進出 / L向進出 / 三向進出 ..等各式訂製品。